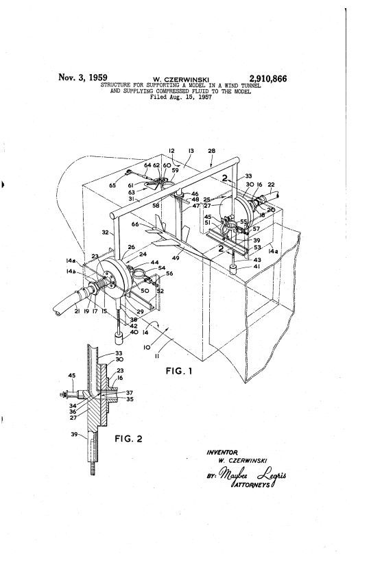
U.S. Patent 2,910,866 Nov 3, 1959

Archive

-

AVRO Museum

Name/Title

U.S. Patent 2,910,866 Nov 3, 1959

Entry/Object ID

1328

Category

Govt Record - other

Archive Items Details

Description

Structure for supporting a model in a wind tunnel

General Notes

Note

Date / Time Period: 1959-Nov Pages: 4 Author: Waclaw Czerwinski Publisher: U.S. Patent Office